东芯股份落子砺算科技背后:“国产英伟达”解锁AI算力卡?
8月4日,估值之家发布《“国产英伟达”要易主了?致敬砺算科技及S3的老男人们!》,对于砺算科技发布7G100、S3 Graphics、以及东芯股份(688110.SH)投资砺算科技的始末有过比较详细的介绍。
8月31日晚间,东芯股份发布《关于对外投资暨关联交易的公告》,公司拟与亨通集团有限公司、上海道禾长期投资管理有限公司管理的基金、砺算科技(上海)有限公司之员工持股平台(以下简称“持股平台”)等投资者,共同投资砺算科技(上海)有限公司(以下简称“砺算科技”),合计投资金额约为50,000.00万元。
本次交易完成后,东芯股份成为砺算科技第一大股东,持股35.87%。由于参与砺算科技本次增资的其他投资人及其投资金额尚未确定,因此下面表格中除东芯股份外的其他原股东的投后认缴注册资本暂按其投前金额列示,具体以本次投资完成后的认缴注册资本及持股比例为准。

图片说明:本次交易后砺算科技股东持股比例,数据来源于公司公告
中芯国际?
首先值得注意的是,东芯股份表示“上海道禾长期投资管理有限公司管理的基金”也参与了本轮融资,根据中国证券投资基金业协会披露的数据,目前上海道禾长期投资管理有限公司旗下的私募产品合计有七只,分别如下:

图片说明:上海道禾长期投资管理有限公司旗下私募产品,数据来源于中国证券投资基金业协会
尽管东芯股份没有明确表示参与砺算科技新一轮融资的是“上海道禾长期投资管理有限公司旗下的哪一款产品”,但经“天眼查”查询,与东芯股份有股权关系的私募基金只有两只:上海道禾产芯私募投资基金合伙企业(有限合伙)、上海道禾拓荆芯链私募基金合伙企业(有限合伙),为方便期间,将前者简称为“道禾产芯”、后者简称为“道禾拓荆”。
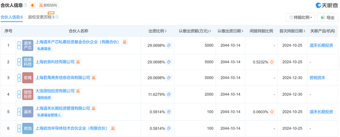
其中道禾拓荆的股权结构如下图所示,道禾拓荆一定程度上可以算作道禾产芯的子基金,因此重点聚焦在道禾产芯上即可。

图片说明:道禾拓荆的合伙人信息,数据来源于天眼查
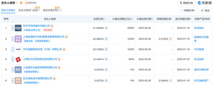
根据天眼查数据,道禾产芯的合伙人信息如下图所示,东芯股份占股比例最高为41.4938%;其次为上海国资全资私募基金公司“上海临港新片区私募基金管理有限公司”;第三位有限合伙人为“中芯晶圆股权投资(宁波)有限公司”,为上市公司中芯国际全资拥有;第四位有限合伙人为“上海东方证券创新投资有限公司”,为东方证券全资拥有。

图片说明:道禾产芯的合伙人信息,数据来源于天眼查
因此,从逻辑推理上说,本轮砺算科技融资,道禾产芯参与的概率是比较高的,但由于东芯股份并未明确表示道禾产芯参与本轮融资,因此并不能保证这个结论一定正确。
熟悉东芯股份的投资者心里清楚,对于拥有完全自研架构的砺算科技来说,当前不做AI算力卡的原因,不是不能做,而是不敢做,至少当前6nm制程的7G100系列,还完全由台积电代工,如果道禾产芯参与本轮融资,则意味着中芯国际实现了对砺算科技的间接入股,现实意义远大于股权投资意义,因为这从某种意义上讲,是给砺算科技吃了一颗定心丸:不用再戴着镣铐跳舞了!没有必要再因为担心美国制裁,而只敢做游戏显卡,以后可以放开手脚去征服AI算力卡的星辰大海了!
令多方满意的股权结构
如果用一个成语来形容本次交易后的股权结构,那便是:无比精妙。
一方面,如果道禾产芯参与本轮融资,东芯股份将成为砺算科技的唯一大股东(此前与南京砺算为并列第一大股东),东芯股份将具备一票否决权甚至控股权。
另一方面,充分照顾到了砺算科技团队的利益,即便创始人团队所在的南京砺算股份被大幅稀释,但又通过员工持股平台把股份补了回来。
由此可以做一个合乎逻辑的推测:第一,东芯股份的团队与砺算科技的团队磨合的比较不错,双方都能各让一步达成双赢;第二,这种股权结构说明未来实现反向收购的概率并不低,东芯股份大股东、砺算科技创始人及核心团队、东芯股份中小股东的利益,很可能是三方共赢的。
至于本轮约40亿元的投后估值,较东芯股份522亿元的二级市场估值,似乎有较大差距,不过换个角度来看,如果本轮融资的投前估值很高,那么就很难平衡砺算科技团队的利益(因为砺算科技团队很缺钱)、也很难使得东芯股份利益最大化(因为需要跟投的钱会非常多)。

图片说明:砺算科技财务状况,数据来源于公司公告
霸气无比的投资逻辑
关于本次投资的必要性,东芯股份用非常自信的语气给出了非常有分量的回答:砺算科技坚持自研架构,产品可实现端、云、边的主流图形渲染和AI加速,对标主流GPU架构,与外部生态无缝兼容,力争解决国产主流完整GPU架构自主可控的关键问题。敢于在公开场合做出这种表态,东芯股份的底气太足!

图片说明:砺算科技财务状况,数据来源于公司公告
估值之家曾在《“国产英伟达”要易主了?致敬砺算科技及S3的老男人们!》中明确表述过自研架构的技术含量,事实上,除砺算科技外,全球仅NVIDIA、AMD、INTEL三家公司具备GPU全自研架构的技术,有自研架构与缺乏自研架构的区别在于:迭代。就如同盖房子,如果自己不会造地基,用别人的地基时,就很难更改住房的户型,而AI行业的需求随时在变,需要AI算力卡公司根据不同需求提供多种多样的住房户型,自研架构决定了迭代能力。
最后,好在是金子总会发光,对于东芯股份这样一家“名不见经传”的上市公司,8月22日业绩发布会的电话会议,还是吸引力超过150家机构参加,其中不乏Point 72、高盛、摩根大通、摩根士丹利等著名外资机构,还有中国电子科技集团、上海硅产业集团、广东省大湾区集成电路与系统应用研究院等著名国资产业方,这说明砺算科技这块“金子”已经很难不被注意到了。尽管未来的路还很长,但相信过了7G100量产的坎,未来砺算科技的星辰大海值得市场期待!