有方科技:10月21日高管杜广、魏琼减持股份合计12.97万股
证券之星消息,根据10月23日市场公开信息、上市公司公告及交易所披露数据整理,有方科技(688159)最新董监高及相关人员股份变动情况:2025年10月21日公司董事杜广、董事魏琼共减持公司股份12.97万股,占公司总股本为0.1395%。变动期间公司股价上涨1.7%,10月21日当日收盘报60.3元。
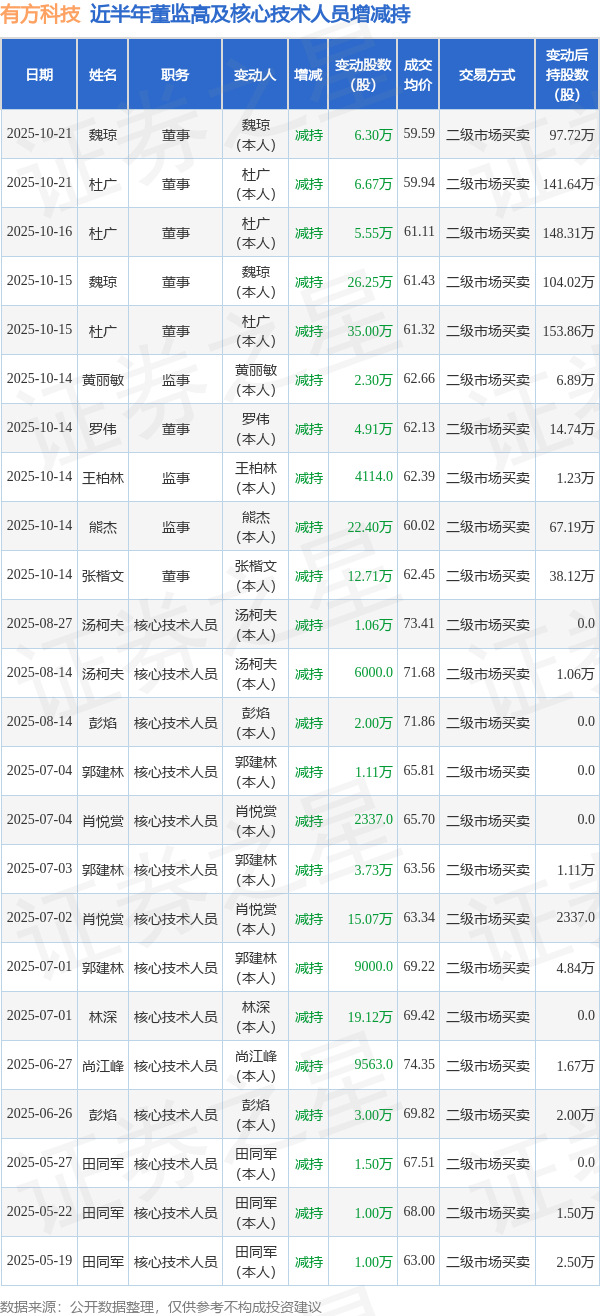
有方科技近半年内的董监高及核心技术人员增减持详情如下:

有方科技的高管列表及最新持股情况如下:

融资融券数据显示该股近5日融资净流出1498.13万,融资余额减少;融券净流入0.0,融券余额增加。
该股最近90天内共有1家机构给出评级,增持评级1家。
以上内容为证券之星据公开信息整理,由AI算法生成(网信算备310104345710301240019号),不构成投资建议。