科创板晚报|沪硅产业拟91亿元投建硅晶圆生产基地 步科股份拟定增募资不超5亿元
《科创板日报》12月29日讯 今日科创板晚报主要内容包括:盛美上海成科创板首家披露年报公司,威胜信息、芯动联科等紧随其后;汉邦科技、华盾防务、瀚天天成、德聚技术科创板IPO已受理,湖州申科科创板IPO终止;东方生物子公司拟收购杭州莱和51.2542%股份。
【热点聚焦】
简讯:
八部门:探索建设区域人工智能数据处理中心 促进人工智能赋能传统制造业
工业和信息化部等八部门关于加快传统制造业转型升级的指导意见。其中提到,推动产业园区和集群整体改造升级。推动国家高新区、科技产业园区等升级数字基础设施,搭建公共服务平台,探索共享制造模式,实施整体数字化改造。以国家先进制造业集群为引领,推动产业集群数字化转型,促进资源在线化、产能柔性化和产业链协同化,提升综合竞争力。探索建设区域人工智能数据处理中心,提供海量数据处理、生成式人工智能工具开发等服务,促进人工智能赋能传统制造业。探索平台化、网络化等组织形式,发展跨物理边界虚拟园区和集群,构建虚实结合的产业数字化新生态。
2023年中国汽车出口将超日本 首登世界第一
2023年中国汽车出口量预计将超过日本,首次成为世界第一。日本汽车工业会12月28日公布的1至11月出口量为399万辆。据中国汽车工业协会统计,1至11月中国汽车出口量达441.2万辆。与上年同期相比增加约6成,全年出口量超过日本已成定局。
京东诉阿里“二选一”案一审胜诉 京东获赔10亿元
据京东黑板报,12月29日,北京市高级人民法院对京东诉浙江天猫网络有限公司、浙江天猫技术有限公司、阿里巴巴集团控股有限公司“二选一”案做出一审判决,认定其滥用市场支配地位实施“二选一”的垄断行为成立,对京东造成严重损害,并判决向京东赔偿10亿元。
证监会:紫晶存储案中介机构承诺交纳约12.75亿元承诺金 已赔偿投资者约10.86亿元并整改
证监会适用当事人承诺制度维护投资者合法权益,紫晶存储案中介机构承诺交纳约12.75亿元承诺金,已赔偿投资者约10.86亿元并整改。
深度:
【科创板公告】
沪硅产业:拟91亿元投建“300mm半导体硅片拉晶以及切磨抛生产基地”
沪硅产业公告,子公司上海新昇半导体科技有限公司拟与太原市人民政府、太原中北高新技术产业开发区管理委员会签订《关于半导体硅片材料生产基地项目合作协议》,投资建设“300mm半导体硅片拉晶以及切磨抛生产基地”,本项目计划总投资为91亿元。
步科股份:拟定增募资不超过5亿元
步科股份公告,拟定增募资不超过5亿元,用于智能制造生产基地建设项目。
盛美上海成科创板首家披露年报公司 威胜信息、芯动联科等紧随其后
上交所年报预约披露时间表出炉,盛美上海成科创板首家披露年报公司,将于2024年2月29日率先披露,此外,威胜信息、芯动联科、昊海生科也将随后发布。
东方生物:子公司拟收购杭州莱和51.2542%股份
东方生物公告,全资子公司海南启康投资有限公司拟以自有资金6919.3216万元收购杭州莱和51.2542%的股份;本次股权收购完成后,杭州莱和将成为海南启康控股子公司。
莱特光电:拟推2023年员工持股计划
莱特光电发布2023年员工持股计划,员工持股计划的股票来源为公司回购专用账户的公司A股普通股股票,规模合计不超过198.70万股,占公司当前总股本40,243.7585万股的0.49%。本员工持股计划受让标的股票价格为10.79元/股。
【发审动态】
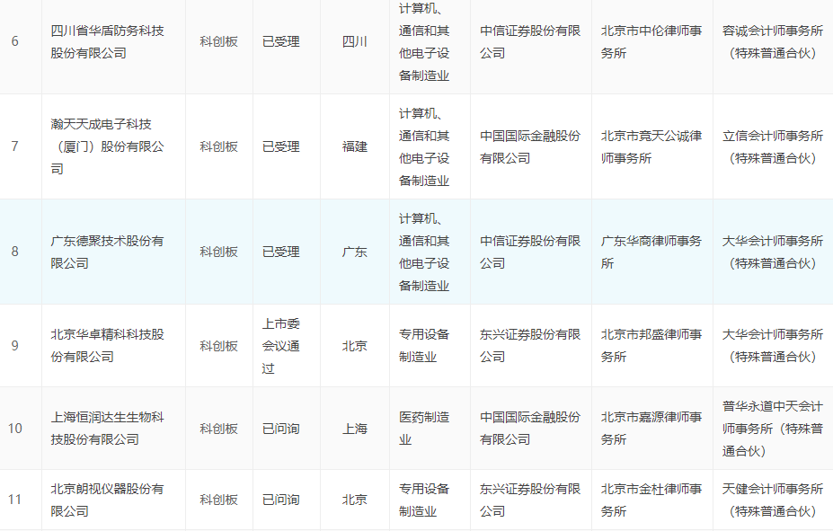
14家科创板拟上市公司发审状态更新 湖州申科终止审核
截至发稿,共有942家公司科创板上市申请获受理,今日14家公司发审状态更新,其中汉邦科技、华盾防务、瀚天天成、德聚技术已受理;湖州申科终止审核。



【创投风向标】
大基金二期等入股润鹏半导体 后者第一大股东为华润微
天眼查显示,12月28日,润鹏半导体(深圳)有限公司发生工商变更,新增国家集成电路产业投资基金二期股份有限公司、中国国有企业结构调整基金二期股份有限公司、综改试验(深圳)股权投资基金合伙企业(有限合伙)、一汽股权投资(天津)有限公司等多位股东,同时公司注册资本由24亿人民币增至150亿人民币,增幅525%。润鹏半导体(深圳)有限公司成立于2022年6月,法定代表人为李虹,经营范围包括集成电路设计、集成电路芯片及产品制造、集成电路芯片及产品销售等,第一大股东为华润微科技(深圳)有限公司。
启明创投领投 栈略数据完成C+轮近2亿元融资
近日,栈略数据宣布完成C+轮近2亿元人民币融资。本轮融资由启明创投领投、苏州宜和跟投,老股东君联资本继续加持,山景资本担任独家财务顾问。栈略数据是一家专注于医疗保障数字化解决方案的公司,致力于为政府医保部门、商业保险公司、医疗/护理机构、制药和医疗器械等企业提供健康险生态的数字化解决方案。