希荻微:2024年上半年亏损1.18亿元

中证智能财讯 希荻微(688173)8月30日披露2024年半年报。2024年上半年,公司实现营业总收入2.30亿元,同比增长84.48%;归母净利润亏损1.18亿元,上年同期盈利4010.46万元;扣非净利润亏损1.26亿元,上年同期亏损8526.08万元;经营活动产生的现金流量净额为-8685.19万元,上年同期为-1.82亿元;报告期内,希荻微基本每股收益为-0.29元,加权平均净资产收益率为-6.71%。
公告称,公司营业收入变化主要由于受消费电子市场回暖以及去年新增的产品线音圈马达驱动芯片业务营收体量的增加影响,本报告期营业收入较去年同期大幅上升约84.48%。



以8月29日收盘价计算,希荻微目前市盈率(TTM)约为-17.49倍,市净率(LF)约为2.22倍,市销率(TTM)约为7.42倍。

公司近年市盈率(TTM)、市净率(LF)、市销率(TTM)历史分位图如下所示:



根据半年报,公司第二季度实现营业总收入1.07亿元,同比增长26.77%,环比下降12.80%;归母净利润-6864.79万元,同比下降405.99%,环比下降40.41%;扣非净利润-7140.53万元,同比下降280.16%,环比下降31.87%。

2024年上半年,公司毛利率为34.74%,同比下降4.41个百分点;净利率为-51.08%,较上年同期下降83.23个百分点。从单季度指标来看,2024年第二季度公司毛利率为37.36%,同比上升0.31个百分点,环比上升4.91个百分点;净利率为-64.05%,较上年同期下降48.00个百分点,较上一季度下降24.27个百分点。

数据显示,2024年上半年公司加权平均净资产收益率为-6.71%,较上年同期下降8.83个百分点;公司2024年上半年投入资本回报率为-6.89%,较上年同期下降8.05个百分点。

2024年上半年,公司经营活动现金流净额为-8685.19万元,同比增加9467.27万元;筹资活动现金流净额-3268.36万元,同比减少7528.49万元;投资活动现金流净额6.79亿元,上年同期为-2.85亿元。
进一步统计发现,2024年上半年公司自由现金流为4.64亿元,上年同期为-2.49亿元。

2024年上半年,公司营业收入现金比为205.86%。

营运能力方面,2024年上半年,公司总资产周转率为0.12次,上年同期为0.06次(2023年上半年行业平均值为0.15次,公司位居同行业30/34);固定资产周转率为17.26次,上年同期为9.61次(2023年上半年行业平均值为5.70次,公司位居同行业10/34);公司应收账款周转率、存货周转率分别为2.15次、0.83次。

2024年上半年,公司期间费用为1.96亿元,较上年同期增加3204.62万元;但期间费用率为85.39%,较上年同期下降46.44个百分点。其中,销售费用同比增长69.87%,管理费用同比增长4.13%,研发费用同比增长5.03%,财务费用由去年同期的-1537.27万元变为-489.41万元。
资料显示,销售费用的变动主要因为随着销售规模扩大以及产品线的增加,销售人员支出以及市场推广支出增加;财务费用的变动主要因为本报告期与去年同期汇率变动情况的差异导致本报告期汇兑收益较去年同期大幅减少;研发费用的变动主要由于本报告期持续加大研发投入,研发相关的材料费用、测试费用以及人工支出等均有所增加。

资产重大变化方面,截至2024年上半年末,公司货币资金较上年末增加74.73%,占公司总资产比重上升27.31个百分点;交易性金融资产较上年末减少81.75%,占公司总资产比重下降15.74个百分点;其他流动资产较上年末减少93.23%,占公司总资产比重下降12.29个百分点;其他权益工具投资合计较上年末减少40.97%,占公司总资产比重下降2.92个百分点。

负债重大变化方面,截至2024年上半年末,公司其他应付款(含利息和股利)较上年末增加193.89%,占公司总资产比重上升0.75个百分点;应付职工薪酬较上年末减少35.15%,占公司总资产比重下降0.56个百分点;应付账款较上年末增加12.21%,占公司总资产比重上升0.99个百分点;一年内到期的非流动负债较上年末减少22.78%,占公司总资产比重下降0.19个百分点。

从存货变动来看,截至2024年上半年末,公司存货账面价值为1.56亿元,占净资产的9.3%,较上年末减少4887.63万元。其中,存货跌价准备为7321.73万元,计提比例为32.0%。

在偿债能力方面,公司2024年上半年末资产负债率为10.46%,相比上年末上升1.46个百分点;有息资产负债率为0.95%,相比上年末下降0.19个百分点。

2024年上半年,公司流动比率为8.10,速动比率为7.26。

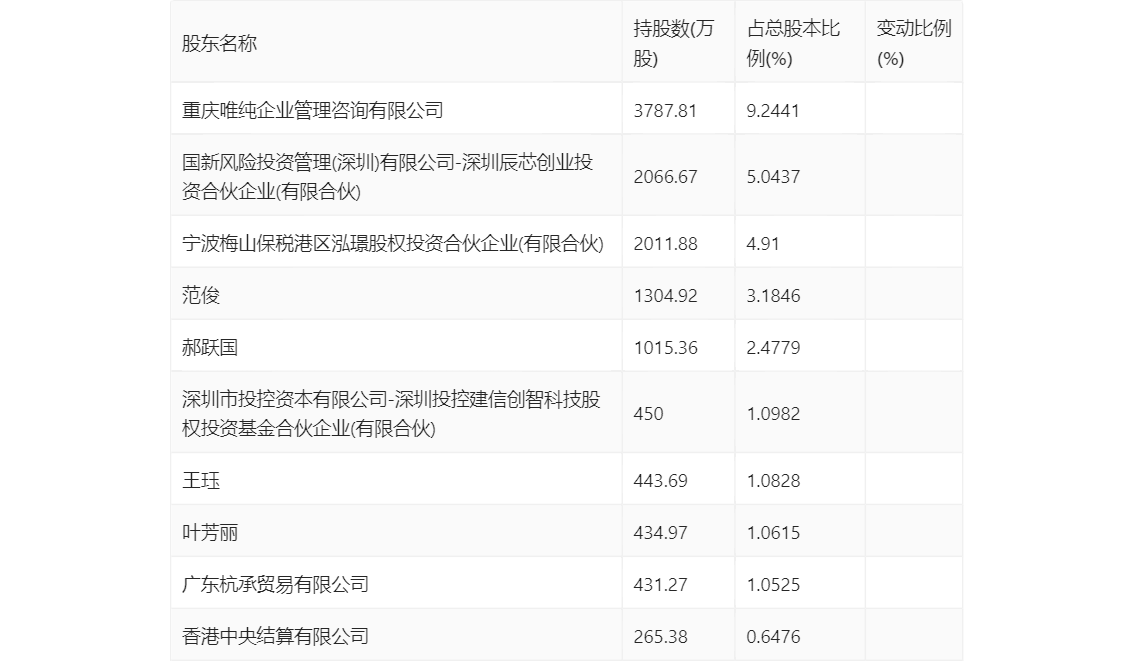
半年报显示,2024年上半年末公司十大流通股东中,新进股东为香港中央结算有限公司,取代了一季度末的佛山鹏信熙源股权投资合伙企业(有限合伙)。在具体持股比例上,宁波梅山保税港区泓璟股权投资合伙企业(有限合伙)持股有所下降。

筹码集中度方面,截至2024年上半年末,公司股东总户数为1.21万户,较一季度末下降了1077户,降幅8.20%;户均持股市值由一季度末的41.01万元下降至37.47万元,降幅为8.63%。

指标注解:
市盈率
=总市值/净利润。当公司亏损时市盈率为负,此时用市盈率估值没有实际意义,往往用市净率或市销率做参考。
市净率
=总市值/净资产。市净率估值法多用于盈利波动较大而净资产相对稳定的公司。
市销率
=总市值/营业收入。市销率估值法通常用于亏损或微利的成长型公司。
文中市盈率和市销率采用TTM方式,即以截至最近一期财报(含预报)12个月的数据计算。市净率采用LF方式,即以最近一期财报数据计算。
市盈率为负时,不显示当期分位数,会导致折线图中断。