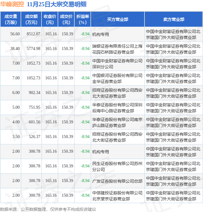
11月25日华峰测控现12笔大宗交易 机构净买入8812.85万元
证券之星消息,11月25日华峰测控发生大宗交易,交易数据如下:

近三个月该股共发生12笔大宗交易,合计成交1.35万手,折价成交12笔。该股近期无解禁股上市。
截至2025年11月25日收盘,华峰测控(688200)报收于165.16元,下跌0.06%,换手率1.77%,成交量2.4万手,成交额4.05亿元。
该股近半年内有股东持股变动,合计净减持135.5万股,股东增减持明细如下表:

该股最近90天内共有13家机构给出评级,买入评级10家,增持评级3家;过去90天内机构目标均价为230.25。
以上内容为证券之星据公开信息整理,由AI算法生成(网信算备310104345710301240019号),不构成投资建议。