科创板公司股东回报哪家强?现金分红累计总额近千亿元,大全能源、传音控股上榜前三
《科创板日报》9月24日讯(特约记者 黄修眉)“强化分红导向、健全分红制度”,是证监会近期活跃资本市场、提振投资者信心的举措之一。A股上市公司的分红现状,也成为投资者非常关注的话题。
数据统计显示,科创板上市公司自开板以来,现金分红总额已达近千亿元,分红率超80%;科创板上市公司通过分红回报投资者的意愿与能力,也逐年增强。
多方业内人士提出建议,完善分红制度,需因势利导,防止一刀切;投资者不能只关注高分红比例,还需要考虑公司分红的可持续性和稳定性。
今年上半年321亿超去年全年
现金分红作为实现投资回报、共享经营成果的重要形式,是尊重和保护投资者权益的重要体现。
《科创板日报》记者统计星矿数据等发现,科创板开板四年以来,共559家上市公司,累计历史现金分红达到992.6亿元;有了资本市场对科创板公司融资需求的大力支持,各行业公司快速发展,科创板公司给予投资者的回报也逐年增加。仅今年上半年,科创板公司现金分红逾321亿元,远超去年289.8亿元的总量。
近千亿元的历史分红总额中,有451家科创板公司进行了分红,仅剩111家暂未分红,开板四年分红率超80%;其中,大全能源、中国通号和传音控股夺得历史分红总额三甲,历史分红次数分别为2、4、4,公司历史分红总额分别达到88.5亿元、63.8亿元、40.6亿元;

上市公司宣布分红计划,表明企业整体资金面向好,可流动资金充裕,能够定期给予投资者一定的现金红利。
另外也可以体现出公司业绩较为稳健,不存在经营现金流紧张的问题。
粤开证券首席策略分析师陈梦洁表示,对投资者来说,上市公司分红金额和持续性也是投资者在选择标的时的考量标准之一,分红稳定的公司会增强投资者对未来收益的信心,进而获得更多青睐。
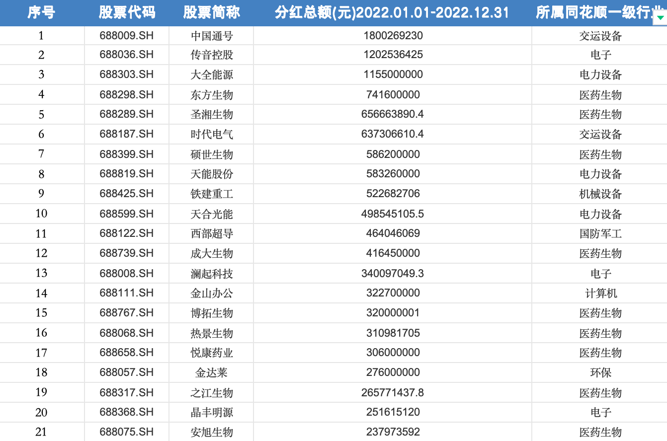
再看来2022年全年分红情况。2022年共有333家公司分红,总额超289亿元,前三名为中国通号、传音控股和大全能源,分红额度分别达到18亿元、12亿元和11.55亿元;从单个公司当年分红金额看,有9家公司的分红额度超过5亿元,占比为0.27%;也就是说还有超97%的公司全年分红金额在5亿元之下。

《科创板日报》记者注意到,进入今年上半年,分红的公司数量和分红额度都大幅增加。截止中报,共有279家公司公布分红,分红总额达到321亿元,已超去年289亿元总额度。
值得注意的是,上半年分红额度前三的公司分别是大全能源、传音控股和天合光能,额度分别达到76.9亿元、14.47亿元、10.39亿元;三家分红总额超101亿,占科创板分红额度的三分之一。
光是大全能源一家,就贡献了上半年总额的24%。大全能源不仅是今年上半年股东回报最多公司,也因此成为科创板历史上“最大方”公司,其分红率达到9.03%,仅次于通威股份。
传音控股历史上总共分红4次,从每次的分红方案看,分红比例不小,比如上半年5月公告的10派18,去年6月的10派15,分红最少的一次是2020年6月的“10派6.8元”,但该分红比例其实也高于A股不少公司。但需要一提的是,传音控股的分红率为1.31%,股利支付率为58.26%,均远低于A股主板同行业公司。
经济专家卞永祖向《科创板日报》记者表示,对于比较成熟的企业,规模增长速度相对稳定,此时企业有大量盈利,建议多进行现金分红;而科创板、创业板等企业多处于扩张前期,规模小盈利少投入高,此时需要把更多财力投入研发、生产、销售等,这些企业投入再生产会产生更多未来收益,尽管这些公司目前分红不敌行业部分企业,但公司的优质性也可以在股价中得到体现。
开源证券分析师诸海滨也认为,公司的股利分配与生命周期密切相关。成长型企业规模扩张要求较强,面临投资机会也较多,倾向于将利润留存用于后续投资。这本身也同股东角度的利益最大化保持了一致,即当投资人选择了成长性较好的上市公司时,愿意暂时放弃股息,希望在此后获得更好的收益。但进入成熟期之后公司在手现金流变得丰富,而此时如没有更好的投资项目,上市公司就应该加大分红。
不少业内人士提醒投资者,需要注意高分红现象的另一面。分红比例高,并不意味着一定值得投资者关注和投资。因为这可能暗示着有的公司没有去投资好的项目,只能做分红,这个公司未来增长的潜力可能欠佳。
业内建议完善制度需因势利导
再来看行业分布情况。历史分红总额中,共有451家科创板公司进行了分红;其中电子板块公司92家,占比20.3%,分红额度超160亿元,排名第二;生物医药板块公司80家,占比17.7%,分红额度却排名第一,超212亿元;其次是机械设备板块共有69家公司分红,占比15.2%,分红额度排名第三,超93亿元。

2022年分红榜单中,生物医药板块分红公司数量达64家,额度超76亿元,位居榜首;其次是电子板块,62家公司分红超48亿元;排名第三的是机械设备板块,54家公司分红额度超31亿元。
今年上半年,电子板块公司数量最多,达到57家,占分红公司总数的20.1%,但分红额度排名第二,超47.5亿元;其次是生物医药板块,共有54家公司分红,占比19%,分红额度排名第一,超64.7亿元;排名第三的是机械设备板块,共51家分红,占总数量的18%,分红额度超28亿元排名第三。
《科创板日报》记者注意到,生物医药板块的高分红公司,大部分都已度过扩张期,处于企业生命发展的成熟期,其主营业务市场规模稳中向好,市场品牌影响力明显。
例如成大生物、圣湘生物、东方生物、奥泰生物、南微医学等公司,均属于具有成熟性和稳定性的医疗器械或体外诊断领域,与凭借科创板第五套上市标准,在无产品、无收入、无利润的情况下上市的创新型公司不同。
电子板块的高分红公司,相当一部分处于快速发展阶段,多来年都有着“需求大、市场广、前景好”的特征,澜起科技、中微公司、华润微、芯朋微等,都是国内半导体领域的龙头公司,尽管近几年半导体行业处于下行周期,但随着ChatGPT的问世,AI智能时代的来临,全球市场对半导体相关材料与部件的需求,或将爆发式增长。
从高分红板块公司情况也可以看出,公司分红具有明显的阶段性,与公司经营状况和未来规划息息相关。
卞永祖表示,“企业是否需要现金分红,是在企业健康可持续发展大前提下决定的。分红政策需要因行业、因阶段、因企业而异,不能一刀切,监管方需多通过鼓励、奖励和引导的手段,从上市公司、投资者、整体环境等多方面入手,引导资本市场健康发展,进一步完善制度,回归资本市场初心。”
卞永祖建议,监管部门可以为企业营造分红氛围,加大投资教育,让投资者看到更多发展前景好、现金分红高的企业,进而让市场主动筛选出高分红好企业。证监会也可以出台一些专门针对高分红企业的指数产品,通过上述产品引导投资者投资,引导企业在符合发展利益前提下多分红。