孚能科技:2024年上半年亏损1.90亿元

中证智能财讯 孚能科技(688567)8月24日披露2024年半年报。2024年上半年,公司实现营业总收入69.74亿元,同比下降0.15%;归母净利润亏损1.90亿元,上年同期亏损7.97亿元;扣非净利润亏损1.77亿元,上年同期亏损8.14亿元;经营活动产生的现金流量净额为-5.52亿元,上年同期为2.51亿元;报告期内,孚能科技基本每股收益为-0.16元,加权平均净资产收益率为-1.85%。


以8月23日收盘价计算,孚能科技目前市盈率(TTM)约为-8.07倍,市净率(LF)约为1.0倍,市销率(TTM)约为0.62倍。

公司近年市盈率(TTM)、市净率(LF)、市销率(TTM)历史分位图如下所示:



根据半年报,公司第二季度实现营业总收入40.5亿元,同比增长24.61%,环比增长38.49%;归母净利润2693.3万元,同比增长106.05%,环比增长112.39%;扣非净利润714.05万元,同比增长101.59%,环比增长103.88%。

2024年上半年,公司毛利率为13.49%,同比上升11.14个百分点;净利率为-2.73%,较上年同期上升8.68个百分点。从单季度指标来看,2024年第二季度公司毛利率为14.64%,同比上升11.78个百分点,环比上升2.75个百分点;净利率为0.67%,较上年同期上升14.38个百分点,较上一季度上升8.10个百分点。

数据显示,2024年上半年公司加权平均净资产收益率为-1.85%,较上年同期增长5.01个百分点;公司2024年上半年投入资本回报率为-1.16%,较上年同期增长4.63个百分点。

2024年上半年,公司经营活动现金流净额为-5.52亿元,同比减少8.03亿元;筹资活动现金流净额-3.37亿元,同比减少8.58亿元;投资活动现金流净额-9.39亿元,上年同期为-9233.22万元。
进一步统计发现,2024年上半年公司自由现金流为-20.58亿元,上年同期为-34.27亿元。

2024年上半年,公司营业收入现金比为114.51%。

营运能力方面,2024年上半年,公司公司总资产周转率为0.24次,上年同期为0.23次(2023年上半年行业平均值为0.26次,公司位居同行业23/32);固定资产周转率为0.92次,上年同期为0.91次(2023年上半年行业平均值为1.18次,公司位居同行业23/32);公司应收账款周转率、存货周转率分别为1.74次、2.06次。

2024年上半年,公司期间费用为11.08亿元,较上年同期增加3.67亿元;期间费用率为15.89%,较上年同期上升5.28个百分点。其中,销售费用同比增长5.42%,管理费用同比增长22.39%,研发费用同比增长28.24%,财务费用由去年同期的-4663.46万元变为1.71亿元。

资产重大变化方面,截至2024年上半年末,公司货币资金较上年末减少24.64%,占公司总资产比重下降6.18个百分点;应收账款较上年末增加18.83%,占公司总资产比重上升3.87个百分点;存货较上年末减少37.26%,占公司总资产比重下降3.64个百分点;在建工程较上年末增加124.60%,占公司总资产比重上升2.57个百分点。

负债重大变化方面,截至2024年上半年末,公司应付账款较上年末减少51.45%,占公司总资产比重下降5.68个百分点,主要系公司本期优化库存管理,减少原材料采购量及支付前期货款;应付票据较上年末增加5.03%,占公司总资产比重上升3.42个百分点;长期应付款合计较上年末减少18.93%,占公司总资产比重下降0.54个百分点;一年内到期的非流动负债较上年末减少22.20%,占公司总资产比重下降0.58个百分点。

从存货变动来看,截至2024年上半年末,公司存货账面价值为22.58亿元,占净资产的22.15%,较上年末减少13.41亿元。其中,存货跌价准备为4.23亿元,计提比例为15.79%。

在偿债能力方面,公司2024年上半年末资产负债率为62.50%,相比上年末下降3.05个百分点;有息资产负债率为13.98%,相比上年末下降0.47个百分点。

2024年上半年,公司流动比率为1.26,速动比率为1.08。

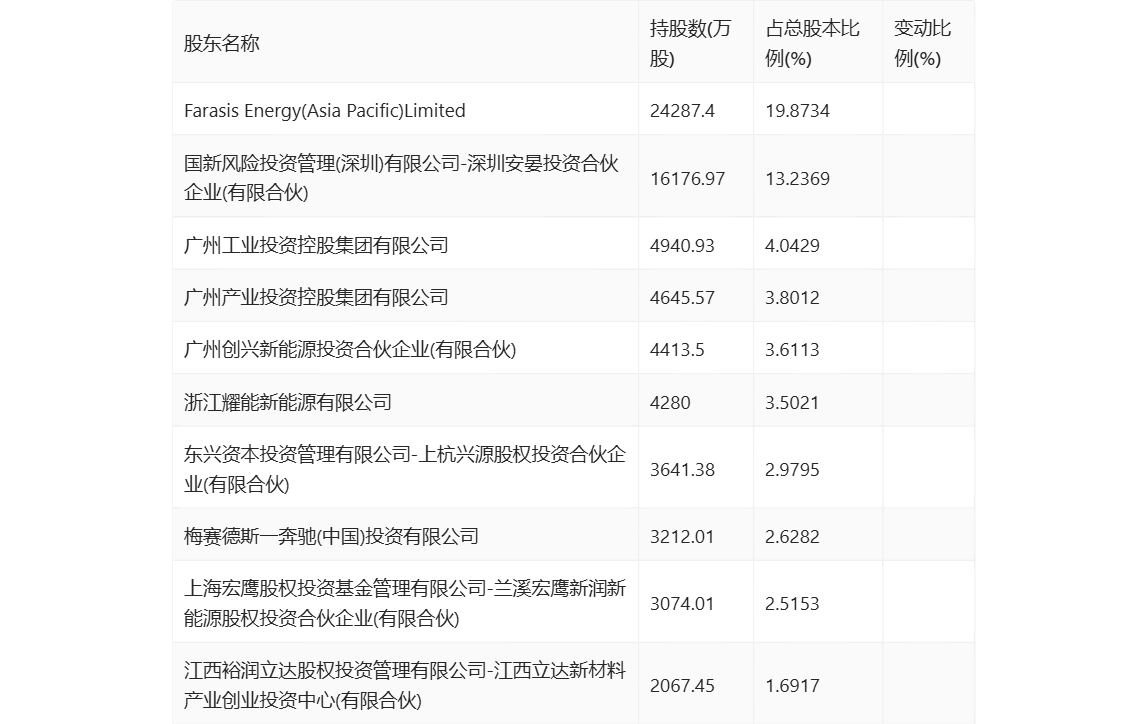
半年报显示,2024年上半年末公司十大流通股东中,持股最多的为Farasis Energy(Asia Pacific)Limited,占比19.87%。十大流通股东名单相比2024年一季报维持不变。

筹码集中度方面,截至2024年上半年末,公司股东总户数为2.2万户,较一季度末下降了268户,降幅1.20%;户均持股市值由一季度末的64.90万元下降至53.27万元,降幅为17.92%。

指标注解:
市盈率
=总市值/净利润。当公司亏损时市盈率为负,此时用市盈率估值没有实际意义,往往用市净率或市销率做参考。
市净率
=总市值/净资产。市净率估值法多用于盈利波动较大而净资产相对稳定的公司。
市销率
=总市值/营业收入。市销率估值法通常用于亏损或微利的成长型公司。
文中市盈率和市销率采用TTM方式,即以截至最近一期财报(含预报)12个月的数据计算。市净率采用LF方式,即以最近一期财报数据计算。
市盈率为负时,不显示当期分位数,会导致折线图中断。