华纳药厂再撤回一款药品注册申请 业绩承压下产品调整动作不断
《科创板日报》12月30日讯(记者 史士云)12月29日晚间,华纳药厂(688799.SH)发布公告称,国家药监局已同意公司撤回西甲硅油乳剂的注册申请。

对于撤回的原因,华纳药厂称是经审慎研究,结合研发策略所作出的决定,系主动撤回,并称此次撤回不会对公司当期及未来生产经营与业绩产生重大影响。
对于上述撤回更为具体的原因,《科创板日报》记者致电华纳药厂证券事务部,相关工作人员回应称,具体原因以公司披露的公告为准。
据了解,西甲硅油乳剂主要用于治疗由胃肠道中聚集了过多气体而引起的不适症状,如腹胀等,也可作为腹部影像学检查的辅助用药,以及作为双重对比显示的造影剂悬液的添加剂。今年1月,华纳药厂向国家药监局递交了该产品的上市许可申请并获得受理。
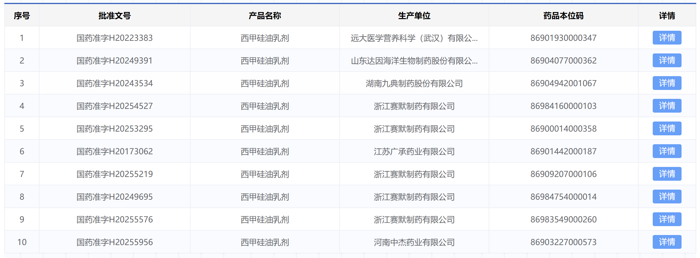
另据国家药监局官网信息,西甲硅油乳剂的原研产品早已进入国内市场,原研厂商为Berlin-Chemie AG。与此同时,国内还有多款西甲硅油乳剂仿制药产品获批,涉及企业包括远大医学、九典制药、扬子江药业、赛默制药、中杰药业、万高药业等。

米内网数据显示,近年中国三大终端六大市场中西甲硅油乳剂的市场规模持续扩容,2024年销售额突破4亿元,同比增长约14%,2025年一季度以约10%的增速继续增长。
另值得一提的是,《科创板日报》记者发现,今年10月,华纳药厂还曾撤回了另外一款产品盐酸阿罗洛尔片的注册申请,该产品主要用于治疗原发性高血压、心绞痛、原发性震颤等,官宣的撤回理由与西甲硅油乳剂撤回的原因一致。
华纳药厂成立于2001年,主营业务是化学原料药、化学药制剂和中药制剂的研发、生产与销售,产品涉及消化、呼吸、抗感染药等多个治疗领域。另据华纳药厂今年的半年报披露,其还在创新药板块布局了中药、化药小分子、以及改良型新药三条管线,并已有多个项目进入临床试验阶段。
今年前三季度,华纳药厂实现营业收入10.9亿元,同比增长1.5%;归母净利润达2.07亿元,同比增长30.75%,不过扣非归母净利润有所下滑,同比下降26.52%,为9884万元。

拉长时间线来看,华纳药厂自2021年科创板上市至2023年,业绩一直保持着较为稳定的增长。但从2024年开始,该公司营收、归母净利润同比双双下滑,降幅分别为1.38%、22.24%,业绩下滑的核心原因之一指向制剂营销中心,该板块受吸入用乙酰半胱氨酸溶液、磷霉素氨丁三醇散等产品参与区域联盟集采后价格下调的影响,业务表现承压,进而拖累了整体业绩。
截至目前,华纳药厂已有超20款产品被纳入了集采。
为了更好地对冲业绩风险,华纳药厂正在拓展产品线,而收购是最快的形式。
日前,华纳药厂发布公告宣布,拟以1010万元购买前列药业持有的注射用吲哚菁绿、荧光素钠注射液、亚甲蓝注射液、聚多卡醇注射液(两个规格)等5个制剂项目,目前,这5款产品均未获批上市,其中有4款正处于审评阶段。

尽管相关产品还未获批上市,但华纳药厂更看重其所处赛道的市场竞争还不算充分,其中前列药业申报的荧光素钠注射液与在研的亚甲蓝注射液同规格产品,目前国内暂无企业获批上市。
一边“买”,华纳药厂还在一边“卖”,其在买进的同时还宣布以700万元,向前列药业出售了地夸磷索钠滴眼液(两个规格)、聚乙烯醇滴眼液、富马酸依美斯汀滴眼液四个产品,均为眼科用药,出售产品中仅有地夸磷索钠滴眼液(两个规格)获批上市,至于另外两款产品,聚乙烯醇滴眼液国内已有多家企业产品获批上市,富马酸依美斯汀滴眼液所处赛道则同质化严重。
值得注意的是,上述交易为关联交易,华纳药厂持有前列药业42.27%的股权,后者是其子公司,且存在“董事和高管担任前列药业董事的情形”,如华纳大药厂创始人、实际控制人及董事长高翔,同时担任前列药业董事。