中芯国际:2024年第一季度净利润5.09亿元 同比下降68.02%

中证智能财讯 中芯国际(688981)5月10日披露2024年一季报。2024年第一季度,公司实现营业总收入125.94亿元,同比增长23.36%;归母净利润5.09亿元,同比下降68.02%;扣非净利润6.22亿元,同比下降33.3%;经营活动产生的现金流量净额为35.67亿元,同比下降32.71%;报告期内,中芯国际基本每股收益为0.06元,加权平均净资产收益率为0.40%。

2024年第一季度,公司毛利率为14.19%,同比下降8.58个百分点;净利率为3.57%,较上年同期下降14.44个百分点。

数据显示,2024年第一季度公司加权平均净资产收益率为0.40%,较上年同期下降0.80个百分点;公司2024年第一季度投入资本回报率为-0.05%,较上年同期下降0.40个百分点。

2024年第一季度,公司经营活动现金流净额为35.67亿元,同比下降32.71%,主要系由于购买商品、接受劳务支付的现金同比增加所致;筹资活动现金流净额-15.98亿元,同比减少75.77亿元;投资活动现金流净额-92.70亿元,上年同期为7.3亿元。

2024年第一季度,公司营业收入现金比为126.21%,净现比为700.76%。

资产重大变化方面,截至2024年一季度末,公司固定资产较上年末增加15.33%,占公司总资产比重上升3.88个百分点;货币资金较上年末减少12.04%,占公司总资产比重下降1.95个百分点;在建工程较上年末减少4.17%,占公司总资产比重下降1.16个百分点;其他非流动资产较上年末减少6.09%,占公司总资产比重下降1.05个百分点。

负债重大变化方面,截至2024年一季度末,公司其他应付款(含利息和股利)较上年末增加20.25%,占公司总资产比重上升1.13个百分点;一年内到期的非流动负债较上年末增加24.77%,占公司总资产比重上升0.39个百分点;合同负债较上年末减少7.38%,占公司总资产比重下降0.36个百分点;长期借款较上年末减少1.70%,占公司总资产比重下降0.46个百分点。

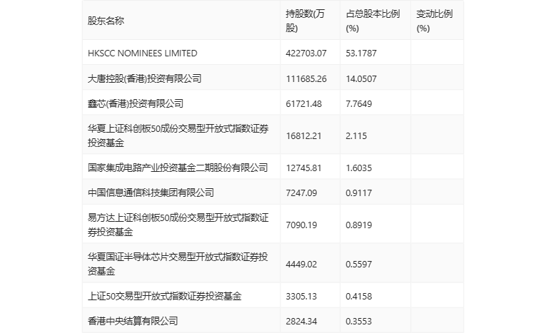
一季报显示,2024年一季度末公司十大流通股东中,新进股东为上证50交易型开放式指数证券投资基金、香港中央结算有限公司,取代了上年末的国联安中证全指半导体产品与设备交易型开放式指数证券投资基金、国泰CES半导体芯片行业交易型开放式指数证券投资基金。在具体持股比例上,易方达上证科创板50成份交易型开放式指数证券投资基金持股有所上升,HKSCC NOMINEES LIMITED、大唐控股(香港)投资有限公司、鑫芯(香港)投资有限公司、华夏上证科创板50成份交易型开放式指数证券投资基金、国家集成电路产业投资基金二期股份有限公司、中国信息通信科技集团有限公司、华夏国证半导体芯片交易型开放式指数证券投资基金持股有所下降。
