龙虎榜丨通富微电今日涨停,知名游资孙哥净卖出2.22亿元

查股网  2024-11-06 21:03  通富微电(002156)个股分析

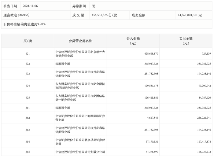
11月6日,通富微电今日涨停,龙虎榜数据显示,上榜营业部席位全天成交26.34亿元,占当日总成交金额比例为17.72%。其中,买入金额为13.71亿元,卖出金额为12.63亿元,合计净买入1.07亿元。

具体来看,知名游资现身龙虎榜,中信建投证券北京朝外大街证券营业部、深股通专用分别买入4.29亿元、3.65亿元;深股通专用、孙哥(中信证券(维权)上海溧阳路证券营业部)分别卖出3.31亿元、2.26亿元。